День 18 января ознаменовался 80-летней годовщиной снятия блокады. Потому произошло довольно редкое событие: на ростральных колоннах появились пламенные протуберанцы огромных факелов.

Высота колонн составляет 32 метра. Визуальное сопоставление позволяет оценить величину огненных языков. Она достигает более чем внушительных пяти, а то и шести метров!

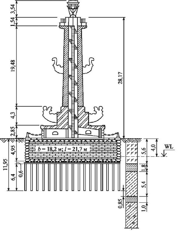
Мало кто задумывается, как стоят эти каменные исполины, каждый весом под 600 тонн. А вот мне как архитектору такое интересно.
Основательный человек (не архитектор))), который привык всё делать на совесть (т.е. с перестраховкой; дабы даже игрушки были прибиты к полу)), не представляет, что почти все подобные высотные сооружения установлены на земле без особой с нею связи. Вернее, связь эта достигается исключительно благодаря колоссальному весу конструкции.
В частности (и в это особенно трудно поверить), Останкинская телебашня при всей своей заполукилометровой высоте обосновывается на плоской бетонной площадке. И высится словно детская пирамидка. Кажется, что даже ветер бы свалил иглу вещательного центра. Однако, «пирамидка» способна выдержать ураган до 44 метров секунду (т.е. в полтора раза выше, чем сила 12-балльного шторма на море) и 8 баллов по шкале Рихтера (что также соответствует самым сильным зафиксированным землетрясениям)!
Понятно, что любая колонна — по сравнению с телебашней — вообще непоколебима. )))
Хотя не всё так однозначно. И здесь, как оказалось, фундамент укреплён. В начале XIX века, когда Захаров и де Томон…
К слову! Ублюдочная википедия даже не упоминает про величайшего зодчего, главу Совета Российской Академии художеств Андреяна Дмитриевича Захарова, который не только курировал проектирование колонн, но и вообще заведовал всем планированием застройки Васильевского острова. И именно он внёс решающие правки и идеи в проект Томона, который бился над ним пять лет. Захаров создал конструктив колонн, сделав их полыми. С винтовыми лестницами внутри для подъёма к огневой чаше. Он же совершил и окончательный выбор декора, а также проработал его масштаб.
Так вот. В начале XIX века, когда Захаров и де Томон работали над проектом колонн, особых сопроматов ещё не было. Поэтому фундамент дополнительно усилили сваями. Хотя конечно не поэтому))), а потому, что это остров. А острова, как известно, окружены водой. И почвы тут нестабильные.
«Тайны» истинных «корней» раскрылись в 1998 году, когда осуществлялось обследование ростральных объектов. Путём наклонного бурения выяснилось, что:

под основанием находятся деревянные сваи!
Впрочем, какими им ещё быть {в то время} кроме как деревянными? Но самое интересное, что сваи эти до сих пор в хорошем состоянии и будут служить и дальше.
А пока от фундаментальных мыслей отвлёк внезапный катер спасательной службы, резко вынесшийся на лёд из-за угла!

Да: Нева скована льдом. А по его поверхности стремительно бегают юркие катера. Всё потому, что катер не простой. Он на подушке. И, можно сказать, на воздушной. Но на подушке не поддуваемой, а на надувной.))
Скользит он благодаря пропеллеру, расположенному на корме… судна? Вот как, кстати, назвать сей гибрид?
Ну и понятно, стало интересно: куда это он направляется?
Путь спасателей лежал к Петропавловской крепости, где к завтрашнему Крещению городские службы оформляли прорубь.

У проруби установили позолоченную луковку (мини)купола.
Особенно интересно было наблюдать стилевую перекличку шпиля Петропавловки и почти незаметного с другого берега Невы купалёнка.

А внимание вновь переместилось к ростральным колоннам.
И не мудрено. Ведь зажгли их всего на пару часов: с 10 до 12 дня. Зажгут ещё вечером, но тогда прогуляться уже не удастся. Поэтому следовало бы поспешить сделать ещё несколько кадров пылающих колонн, пока они не погасли.

Времени оставалось несколько минут. Так что успеть вплотную подобраться к Стрелке, чтобы запечатлеть пламя в непосредственной близости, не удалось. Однако, получилось поймать интересный ракурс, задействовав одного из многочисленных символов Петербурга — льва.
Лев этот принадлежит фрегату-дебаркадеру, скрывающему в недрах себя ресторан с абсолютно неожиданным (и нелепым!) названием «Магадан». ))))

Сам же корабль внешне вполне соответствует окружению и органично вписывается в ансамбль Петроградского и Заячьего островов.
Петроградский остров сменил множество названий. Он звался то Берёзовым (калькируя шведское Бьоркенхольм), то Фоминым, то — при Петре — Городовым. После он побывал Городским, Троицким и Петербургским. Пока наконец, с 1914 года не стал собственно Петроградским. Сейчас же петербуржцы называют его просто Петроградкой.
Петроградский район объединяет семь островов — Заячий, Петроградский, Аптекарский, Петровский, Крестовский, Каменный, Елагин — в единый городской район и исторически зовётся Петроградской стороной.

Забавно, что соседний остров, представляющий другой район, Васильевский — имеет некоторые улицы, обладающие таким же названием, что и на Петроградке. Это, конечно же, Малый и Большой проспекты!
Чтобы их различать, добавляется соответствующая аббревиатура: Большой проспект П.С. (Петроградской стороны) или Малый проспект В.О. (Васильевского острова).
Развлечение туристам! ))
А тем временем наступил полдень. Со стен Петропавловской крепости бахнула пушка!

Со звуком выстрела на ростральных колоннах погасло пламя…

Зато вновь появился знакомый катер спасательной службы. Теперь он гонял по дельте с неизвестной целью. В пылу забот и в стаях чаек.

Чайки в Питере — это вообще отдельная тема. Из-за их необычности в городской среде. По фото же впервые удалось заметить, что они не одного вида. Или у некоторых просто разный окрас? Что странно.
Зато наблюдать интересно. И это главное!))


Фотоаппарат очень способствует наблюдению. И выявлению в обычной, казалось бы, жизни всяческого интересного. Причём не только способствует и выявляет, но и фиксирует мгновения в воспоминания. Которые таким образом из личных и камерных превращаются в общедоступные.
А чтобы было интереснее рассматривать, я над каждым снимком работаю отдельно. И вереница одинаковых фотографий вполне себе становится целой галереей разноплановых и разнонастроенческих полотен.
Вот, например случайный кадр: ретроавтобус ЗИС-8. Он яркий и удивительный сам по себе. А с вывески на крыше «Petrobus.su» можно вытянуть информацию о [его] маршруте и наметить себе новое путешествие по городу.

И лучше будет, если путешествие будет в компании. Потому что нынешнее одиночество человека, когда он наедине со своим смартфоном и больше никто не нужен, — это печально…

Своеобразный юмор ситуации в том, что, будучи одинокими, люди, тем не менее, не остаются одни. Вокруг всегда найдутся {безучастные} прохожие. И {не всегда безучастные} визионеры. ))

Однако их (и наши) глаза так или иначе вознаправятся на прекрасный Питер в образах Начала и Сердца своего — Петропавловской крепости.

А Нева явит бесчисленные фактуры сковавшего её ледяного панциря, узоры которого будут складываться в дивные образы и фигуры.

А то и — в терраподобные ландшафты, которые космическими перспективами неизведанных планет приводят, опять же, к истокам, к Крепости изначальной.

Кстати, об истоках. Вернее, об основании. А ещё точнее, о фундаментах! На чём стоит (и стоять будет) земля русская? И, в частности, Петропавловский собор?
А стоит он — сюрприз! сюрприз! — вновь на бессвайной плите.
Однако (и это ещё один сюрприз))), плита уложена не на сыру землю или, как сейчас делают, на песчано-гравийную подушку, а на что ни на есть и сызнова — деревянные же лежни!
Это, можно образно сказать, горизонтальные сваи. ))

Дерево лежней — без признаков гниения. Несмотря на то, что и здесь тоже, как и в случае с ростральными колоннами, остров. Посреди реки.
Секрет цельности, понятно, в утраченных технологиях, которыми владели Древние!
Хотя может дело в том, что грунты тут — глинистые (что заставляет усомниться, кстати, в здравомыслии многих, уныло скрежещущих, будто Санкт-Петербург построен на болоте).
А может дерево не испортилось из-за того, что было уложено ниже уровня грунтовых вод?
Загадки!..
Кругом загадки и тайны!)))
Как и загадочно следующее изображение.

Что это? Суровое небо Питера, каменными сводами взметнувшееся над Петропавловкой? Или необычные облака? Или искусство мастера фотошопа? Или одна из многочисленных изнанок Города? ;)))
Для сравнения: вот вид на Заячий остров в более привычном ракурсе.

А теперь — долой академичность. И — да здравствует праздник!
На Дворцовой площади последние дни достаивает ёлка и сердечная композиция. Так что можно напоследок понаслаждаться отголосками Нового года и напитаться праздничными эмоциями!


Тут же и Пётр. И — лицезреющий за счастием людским Ангел. Взирающий, благословляя на стойкость, с Александрийского столпа:

Вес столпа, кстати, близок к весу каждой из ростральных колонн — порядка 600 тонн. Но высота на треть больше — 47,5 метра.
Интересно, что воздвигали колосса (высящегося так же, на основании без дополнительного укрепления — под собственным весом) 400 рабочих и 2000 солдат. Которые беспреценднетно смонтировали сверхтяжа на одних руках и блоках, силою лишь человеческой => всего — внимание! — за час сорок!!!
За сколько смонтировали ёлку мне не ведомо. ;)))

У подножия её бродят скульптуры, одетые в придворную одёжу. Заинтересовала лишь фрейлина! ;))

А на вершине новогоднего дерева, как и на Александровской колонне, присутствует символ. Более общий и более многосмысленный. И также, думается, взирающий и благословляющий подобно Ангелу. Это Звезда!

Зовёт ли она к новой жизни, благословляет ли на путь истинный или попросту атрибутирует смену цифр на календаре — каждый толкует для себя своё.
Как и вдруг наполняется извечным смыслом последний кадр…

Заканчивается одна дорога или очередное путешествие, а дальше — ждёт и зовёт следующее!










